什么叫“成員收信過濾”?
- 作者:木辰科技
- 發表時間:2023-02-15 17:23:36
- 來源:企業郵箱
- 瀏覽量:962
什么叫“成員收信過濾”?
收信過濾是對企業員工收到的郵件進行過濾和管控,收信包括來自企業內和企業外的郵件。為企業成員設置收信過濾的規則后,當該成員收到的郵箱觸發了規則,則自動按照設定的操作執行,執行動作為:拒收這封郵件、允許接收郵件同時密送至指定郵箱。
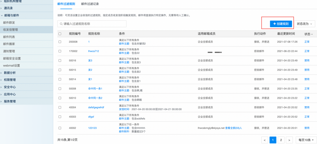
1、點擊“創建規則”來創建一條新的過濾規則。


第一步:輸入規則名稱,名稱不能和現有規則名稱重復。設置適用成員,適用成員可以選擇“企業全員”或者“指定成員”,如果選擇“企業全員”表明這條規則對所有成員生效,同時后面有新的企業成員加入,也會自動遵循這條過濾規則;如果選擇“指定成員”,則僅對所選擇的成員生效。
第二步:配置過濾條件。可以選擇郵件主題關鍵詞、附件大小、附件名稱、附件數量、發信地址以及發信時間作為過濾條件;多個條件直接通過“滿足全部條件”或者“滿足任一條件”處理。
第三步:選擇執行動作。當成員收到的郵件觸發過濾規則后,將執行的操作。“拒收這封郵件”和“允許接收,并密送至”,二選一。“拒收這封郵件”表示拒絕接收這封郵件,對于發件人來說郵件已經發送成功,但是收件人無法收到這封郵件;“允許接收,并密送至”表示允許收件人收到這封郵件,同時會將這封郵件密送至最多10個郵箱。
規則有效期,表示規則生效的時間范圍。“始終生效”表示規則保存后將始終生效,“指定時間段生效”表明規則僅在選擇的時間段內生效,過期自動失效。
2、郵件過濾記錄
郵件過濾記錄可以查詢所有觸發過濾條件的郵件情況,可以通過郵件主題、發件人、收件人來查詢。點擊“詳情”可以查看這封郵件的執行情況。

聲明:本文由 木辰科技 收集整理的《什么叫“成員收信過濾”?》,如轉載請保留鏈接:http://m.cn-yaas.net/news_in/830
上一篇新聞:怎么寫加密郵件,網易企業郵箱支持嗎?
下一篇新聞:什么是偽靜態?偽靜態有何作用?哪種好?
合作
咨詢
幫助
建站咨詢
